一、产品详情
1、产品特征:
-
在输入电压高于、低于或等于输出的时候实现有输出可控
-
在降压模式下,3.3V时为1A输出电流(VIN为3.6V至5.5V)
-
升压模式下3.3V输出电流高达800mA (VIN>2.8V)
-
单独电感器
-
2.5V-5.5V输入电压范围
-
可调输出电压范围为1.8V-5.5V
-
高达95%效率
-
使用低ESR陶瓷电容器时依旧保持稳定
-
无需肖特基二极管
-
关机时输出断开
-
小于1uA的关机电流
-
小于65uA 的静态电流
-
拥有节能模式以提高效率运行
-
固定频率运行模式
-
停机期间负载自动断开
-
欠压锁定保护
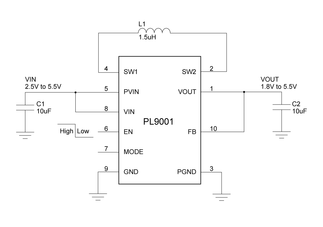
2、应用原理图:
3、产品描述
PL9001是一款1.0A输出、低噪声、脉宽调制 (PWM) 降压-升压DC-DC转换器,可在高于、低于或等于输出电压的输入电压下工作。该器件具有两个内部同步整流器,可实现高效率;它不需要外部肖特基二极管。内部固定频率 2.5MHz作提供了简单的后滤波,并允许使用小型感应器和电容器。在低负载电流下,转换器进入省电模式,以在较宽的负载范围内保持高效率。省电模式可能会被禁用,迫使PL9001在PWM模式下运行。
PL9001非常适合单节锂离子电池应用。它还可用于三节碱性、镍镉或镍氢应用。停机模式将器件置于待机状态,从而将静态电源电流降至1μA以下。其他功能包括内部软启动、内部补偿、短路保护、电流限制和过温保护。该器件采用3mmx3mm的10引脚DFN封装。
4、典型应用场景
-
所有三节碱性、镍镉或镍氢或单节锂电池
-
MP3播放器
-
手持式仪器
-
数码相机
-
智能手机
-
便携式GPS
-
微型硬盘驱动器电源
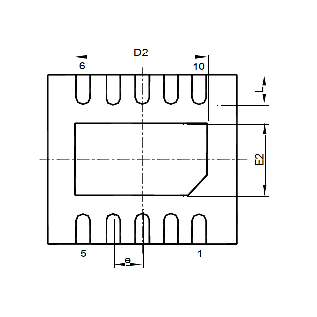
5、封装信息
6、管脚定义和功能描述
管脚功能描述
| 序号 | 名称 | 描述 |
|---|---|---|
| 1 | VOUT | 自动选择RT模式和CLK模式。外部定时电阻调节设备的开关频率;在CLK模式下,设备与外部时钟同步 |
| 2 | SW2 | 连接电感器 |
| 3 | PGND | 电源接地 |
| 4 | SW1 | 连接电感器 |
| 5 | PVIN | 电源输入,功率转换器的电源开关提供电源。 |
| 6 | EN | 启用输入(1 启用,0 禁用) |
| 7 | MODE | 启用/禁用省电模式,(1 禁用,0 启用,时钟信号用于同步)。 |
| 8 | VIN | 控制级的电源电压 |
| 9 | GND | 控制/逻辑接地 |
| 10 | FB | 可调版本的电压反馈 |
二、技术文档
| 类型 | 标题 | 上传时间 | 文档下载 |
| 产品规格书(英文) | PL9001 Datasheet_en_r1.0 | 2025/06/17 | PDF下载 |
三、应用方案
| 序号 | 标题 |
| 1 |

